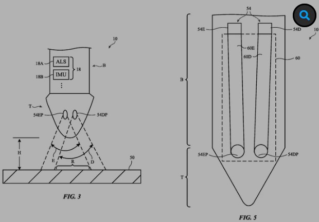
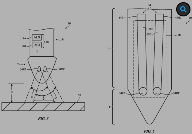
L’Apple Pencil est un stylet qui offre une expérience d’écriture et de dessin naturelle sur l'iPad. Il s’utilise sans fil et communique à travers le Bluetooth Low Energy. Sa pointe est sensible à la pression, ce qui permet de varier la largeur des traits et autorise des nuances très fines dans les dessins. Son capteur d’inclinaison peut détecter l’angle auquel il est tenu. En outre, l’Apple Pencil est doté d’un accéléromètre intégré qui suit ses mouvements, et sa batterie intégrée peut être chargée à l’aide d’un connecteur Lightning.
Cet accessoire d’Apple est très pratique, mais les possesseurs de tablettes graphiques concurrentes vous le confirmeront, il n’a rien de révolutionnaire. Cela pourrait bientôt changer, car selon le site Patently Apple, la firme Apple aurait déposé une demande de brevet auprès de l’USPTO le dernier jour de l’année 2022.












L'accueil

















